产品展示
当前位置:首页 >> 产品展示
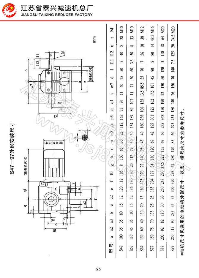
HXS系列斜齿轮-蜗轮减速电机

一、HXS系列斜齿轮-蜗轮减速电机特点:

1、S系列斜齿轮-蜗轮减速电机具有很高的科技含量,有斜齿轮与蜗轮蜗杆结合一体传动,提高该机力矩与效率。该系列产品规格齐全,转速范围广,通用性好,适应各种安装方式,性能安全可靠寿命长,实施了****标准要求。

2、机体表面凹凸具有散热作用,吸振强,低温升,低噪音。

3、该机密封性能好,对工作环境适应性强,可在腐蚀、潮湿等恶劣环境中连续工作,并具有防腐特点,能长时间贮存。

4、该机传动精度高,具有自锁功能,特别适应在有频繁启动的场合工作,可连接各类减速机及配置各类型电机驱动,可安装在90度传动操作位置。

5、该电机关键零部件采用了高耐磨材料,并经过特种热处理,具有加工精度高,传动平稳、体积小承载能力大、寿命长等特点。

6、该减速机可配置各种类电机,形成了机电一体化,完全保证了产品使用质量特征。

二、参数表:(详细参数,请索取资料)

S 系列

输出转速: 0.1~433/min

输出转距: ≤ 4200N.m

电机功率: 0.12~22KW

 

 

上一篇: HXK系列斜齿轮-锥齿轮减速机   下一篇: 三级(NGW73-NGW123)行星齿轮
点击这里给我发送消息
点击这里给我发送消息
点击这里给我发送消息
点击这里给我发送消息
点击这里给我发送消息
点击这里给我发送消息
点击这里给我发送消息
点击这里给我发送消息